
炒股就看金麒麟分析师研报,权威,专业,及时,全面,助您挖掘潜力主题机会!
来源:瑞恩资本RyanbenCapital
2025年7月22日,来自广东东莞的广东天域半导体股份有限公司Guangdong Tianyu Semiconductor Co., Ltd. (简称“天域半导体”)在港交所递交招股书,拟在香港IPO上市。这是继其于2024年12月23日递表失效后的再一次申请。
天域半导体,于2025年6月13日获中国证监会国际司境外上市备案通知书,拟发行不超过46,408,650股境外上市普通股。
天域半导体招股书链接:
https://www1.hkexnews.hk/app/sehk/2025/107569/documents/sehk25072201354.pdf
主要业务
天域半导体,成立于2009年,作为中国最早专注于技术科开发的专业碳化硅外延片供货商之一,主要从事各类碳化硅外延片的设计、研发及制造。
根据弗若斯特沙利文的资料,于2024年按收入及销量计,天域半导体在中国碳化硅外延片行业均排名第一,市场份额分别为30.6%、32.5%。
天域半导体作为中国为数不多的第三代半导体公司之一,一直推动碳化硅外延片行业。根据弗若斯特沙利文的资料,天域半导体是中国首批实现4英吋及6英吋碳化硅外延片量产的公司之一,及中国首批拥有量产8英吋碳化硅外延片能力的公司之一。截至2025年5月31日,公司6英吋及8英吋外延片的年度产能约为420,000片,成为中国具备6英吋及8英吋外延片产能的最大公司之一。
天域半导体作为第三代碳化硅半导体材料的顶级供货商,受益于中国及全球新能源相关产业近年来的迅速发展,导致产品出货量显著增加。于往绩记录期间,公司的销量(包括自制外延片及按代工服务方式销售的外延片)由2022年的44,515片,增至2023年的132,072片,由于受市况变动所致2024年降至78,928片,于2025年前5个月达77,709片。
天域半导体的收入来自销售自制碳化硅外延片、其他销售及服务。
销售自制碳化硅外延片,于往绩记录期间,公司主要提供4英吋及6英吋碳化硅外延片,并已开始量产8英吋碳化硅外延片,预计于不远将来销售8英吋碳化硅外延片将带来更大的销量及收入贡献。公司目前正在建设一个位于东莞生态园工厂的新生产基地,将主要用于6英吋及8英吋碳化硅外延片的量产。
其他销售及服务,提供若干与碳化硅外延片相关的增值服务,主要包括碳化硅外延代工服务、外延片清洗服务以及衬底与外延片检测服务、销售若干次级品外延片。
股东架构
招股书显示,天域半导体在上市前的股东架构中,
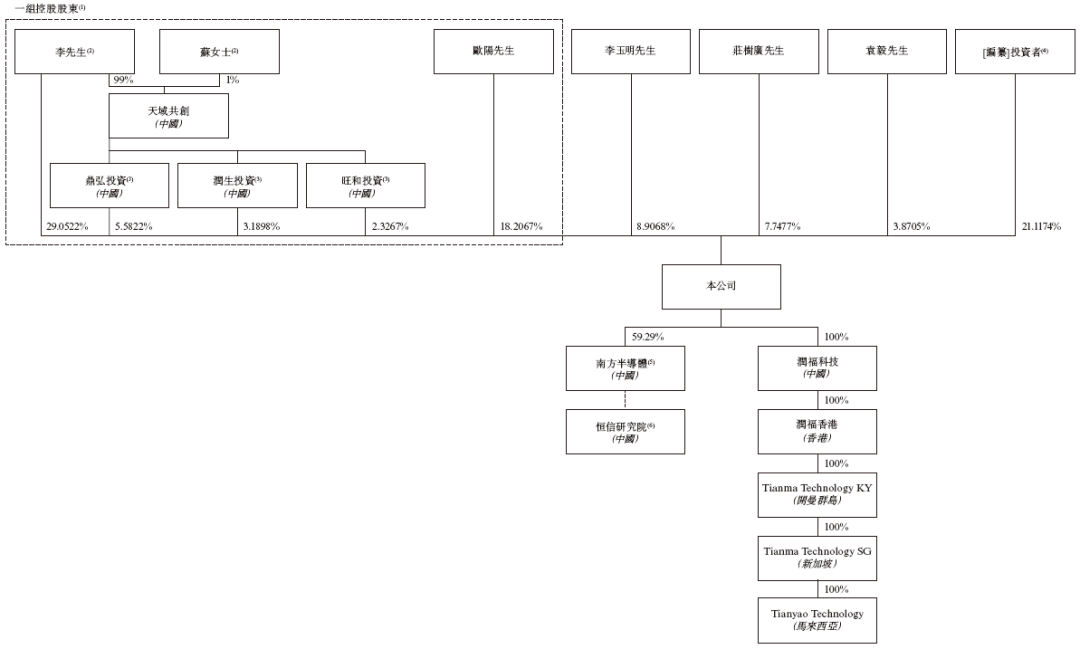
李锡光先生,直接持股29.0522%;
李锡光先生通过控制员工持股平台鼎弘投资、润生投资、旺和投资,分别持股5.5822%、3.1898%、2.3267%;
* 3个员工持股平台均由执行合伙人天城共创管理,天城共创拥有各持股平台1%的权益,天城共创由李先生及其配偶苏琴女士分别拥有99%、1%。
欧阳忠先生,直接持股18.2067%;
李先生及欧阳先生为一致行动人,上述股东为一组控股股东,合计持股约58.36%。
其他投资者包括华为旗下哈勃科技、比亚迪(002594.SZ,01211.HK)、粤科鑫泰等。
管理层
天域半导体董事会由6名董事组成,包括:
1名执行董事:
李锡光先生(董事会主席、总经理,南方半导体董事会主席、董事兼总经理);
2名非执行董事:
欧阳忠先生(南方半导体董事、东莞世界莞商联合会会长);
姜达才先生(华为全球采购认证部软件采购部部长);
3名独立非执行董事:
贺正生先生(北京市衡基律师事务所合伙人);
李旻女士(广东天健会计师事务所经理及监事);
钱荣泽先生(宏恩顾问创办人)。
监事会3名:
庄树广先生(监事会主席);
袁毅先生(东莞高田物业、金田置业、今天纸业等公司总经理);
尹雪芳女士(内部审计部部长);
除执行董事外,高管包括:
彭光辉先生(首席财务官);
李咏梅女士(副总经理);
韩景瑞先生(副总经理兼研发部总监);
李焯星先生(董事会秘书兼联席公司秘书)(李锡光先生的侄子)。
公司业绩
招股书显示,在过去的2022年、2023年、2024年和2025年前五个月,天域半导体的营业收入分别为人民币4.37亿、11.71亿、5.20亿和2.57亿元,相应的净利润分别为人民币281.4万、9588.2万、-5.00亿和951.5万元。
中介团队
天域半导体是次IPO的中介团队主要有:
中信证券为其独家保荐人;
毕马威为其审计师;
德恒为其公司中国律师;
德恒(香港)为其公司香港律师;
广东信达为其券商中国律师;
盛德为其券商香港及美国律师;
仲量联行为其独立物业估值师;
财通国际为其合规顾问;
弗若斯特沙利文为其行业顾问。
海量资讯、精准解读,尽在新浪财经APP
责任编辑:郝欣煜
富华优配提示:文章来自网络,不代表本站观点。